IPBHZ

Грузоподъемность 750 – 12000 кг
Зажим IPBHZ используется для горизонтального подъема и передачи стальных балок. Основа захвата с желобом, что позволяет использовать зажим как с конца балки, так и с его гребня. Эта серия зажимов может использоваться в вертикальном и горизонтальном положении. Используется для различных типов конструкций – I-балки, H-балки, углы, и т.д., в зависимости от желаемого применения.
Продукция изготовлена из сварного сплава металла для большей прочности и меньшего размера. При необходимости, могут использоваться для компонентов кованный сплав.
Каждый продукт проходит двойное Индивидуальное тестирование на WLL (предельную рабочую нагрузку), что удостоверяется Свидетельством.
Название (CrosbyIP), логотип, WLL и открытие челюсти - всегда отпечатывается на продукте.
Каждый продукт имеет индивидуальный серийный номер и дату теста проверки грузоподъемности, отпечатанной на металле. Регистрационный номер включен в свидетельство об испытании, сертификат техобслуживания и гарантийный журнал.
Соответствует ISO 9001.



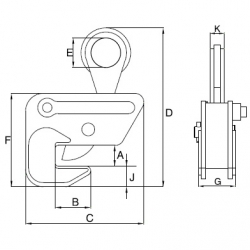
Тип
Г/п, т*
Зев A
B
C
D
E
F
G
J
K
Вес, кг
IPBHZ
0,75
0-25
40
148
220
50
130
69
33
22
3,0
IPBHZ
1,5
0-25
60
200
255
50
153
73
35
28
6,0
IPBHZ
3
0-40
80
227
325
70
188
112
38
32
10,5
IPBHZ
4,5
0-40
112
284
413
70
251
116
80
40
25,0
IPBHZ
12
0-40
125
466
490
90
317
90
90
47
42,0