
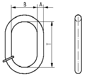
Овальное звено VIP без вилочных колец и маркировочной бирки.
Применимо как:
VAK 1-6 (с VVS-6 и VKZA 6),
VAK 2-6 (с 2-мя VVS-6 и VKZA 6),
Конечное звено VA 1-6 (с VVS-6)
Размеры соответствуют требованиям DIN 5688.
Изготовлено в соответствии с DIN EN 1677-4.
Применимо для крюков крана до №2,5 в соответствии с DIN 15401.
При монтаже и ремонте необходимо особенно следить за тем, чтобы цепь и комплектующие элементы имели соответствующие размеры и грузоподъемность!

|
Тип |
Г/п, т |
А, мм |
В, мм |
Т, мм |
Вес, кг |
Артикул |
|
VA 13 |
1,5 |
13 |
60 |
110 |
0,35 |
7987509 |
|
VA 16 |
2,5 |
16 |
60 |
110 |
0,50 |
7987510 |
|
VA 18 |
4 |
18 |
75 |
135 |
0,8 |
7987511 |
|
VA 22 |
6,7 |
22 |
90 |
160 |
1,5 |
7987512 |
|
VA 26 |
10 |
26 |
100 |
180 |
2,3 |
7987513 |
|
VA 32 |
14 |
32 |
110 |
200 |
3,9 |
7987514 |
|
VA 36 |
21 |
36 |
140 |
260 |
6,44 |
7902741 |
|
VA 40 |
22,4 |
40 |
180 |
340 |
9,5 |
7991031 |
|
VA 45 |
28 |
15 |
180 |
340 |
12,8 |
7991032 |

|
Тип |
Г/п, т |
A, мм |
B, мм |
T, мм |
C, мм |
D, мм |
T, мм |
F, мм |
Вес, кг |
Артикул |
|
VAKO 3/4-6 |
3,15 |
18 |
75 |
190 |
135 |
13 |
25 |
54 |
1,2 |
7987515 |
|
VAKO 3/4-8 |
5,25 |
22 |
90 |
210 |
160 |
16 |
34 |
70 |
2,2 |
7987516 |
|
VAKO 3/4-10 |
8,4 |
26,0 |
100 |
265 |
180 |
18 |
40 |
85 |
3,4 |
7987518 |
|
VAKO 3/4-13 |
14 |
32 |
110 |
315 |
200 |
22 |
50 |
115 |
6 |
7987519 |
|
VAKO 3/4-16 |
21 |
36 |
140 |
400 |
260 |
26 |
65 |
140 |
10 |
7987520 |
|
VAKO 3/4-20 |
33,6 |
51 |
190 |
520 |
350 |
32 |
75 |
170 |
25 |
7991033 |
|
VAKO 3/4-22 |
42 |
51 |
190 |
550 |
350 |
36 |
110 |
200 |
27,2 |
7991034 |
|
VAKO 3/4-28 |
67 |
71 |
250 |
660 |
460 |
50 |
100 |
200 |
68 |
7905159 |

|
Тип |
Г/п, т |
A, мм |
B, мм |
T, мм |
C, мм |
D, мм |
T, мм |
F, мм |
Вес, кг |
Артикул |
|
VSAKO 3/4-20/250 |
33,6 |
54 |
250 |
630 |
460 |
36 |
75 |
170 |
33,50 |
7993208 |
|
VSAKO 3/4-22/250 |
42 |
56 |
250 |
630 |
460 |
40 |
80 |
170 |
38 |
7993209 |